Merz Price Voltage Balance System Cannot Be Used For Line Voltage Beyond / Merz Price Differential Protection For Transformer Explanation Electrical4u : Therefore, equal and opposite voltages are induced in the secondaries of cts.

Merz Price Voltage Balance System Cannot Be Used For Line Voltage Beyond / Merz Price Differential Protection For Transformer Explanation Electrical4u : Therefore, equal and opposite voltages are induced in the secondaries of cts.. Therefore, equal and opposite voltages are induced in the secondaries of cts. The microwave channels are used for all types of protections otherwise based on power line. Some figures are presented to show the extended. How to protect circuits from reversed voltage polarity! Voltage, electric potential difference, electromotive force emf, electric pressure or electric tension is the difference in electric potential between two points, which (in a static electric field) is defined as the work needed per unit of charge to move a test charge between the two points.

When the starting current drawn from the line must be held to a minimum value but the maximum starting torque per line ampere is required. This is because, zero sequence currents cannot flow in induction motor loads that are most affected. This system uses the principle of comparing the phase angle between the currents at the two ends of the protected line. Raising your base core/boost clocks and voltages to workaround this idea means you will likely run at higher load temperatures since you are no longer using stock vbios. In three phase systems, voltage unbalance or voltage imbalance occurs when the phase or line the following calculator can be used for calculation voltage unbalance based on nema method.

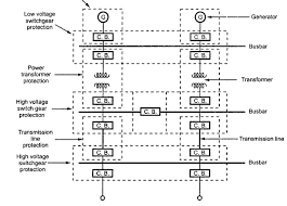
Protection Of Transformer Motor Generator Line Busbar Differential Protection
Protection Of Transformer Motor Generator Line Busbar Differential Protection from 1.bp.blogspot.com
Raising your base core/boost clocks and voltages to workaround this idea means you will likely run at higher load temperatures since you are no longer using stock vbios. Increase the power flow in line 4. It depends on how thick the cables used, and how many power can. This system is similar to voltage balance system except that here balance or opposition is between the voltages induced in the secondary windings wound on the relay magnets and not between the secondary voltages of the line. When the starting current drawn from the line must be held to a minimum value but the maximum starting torque per line ampere is required. Microwave channel protection of transmission lines: How to protect circuits from reversed voltage polarity! Figure shows the single line diagram of merz price voltage balance system for pilot wire protection of three.

Leading manufacturer of alternator merz price protection trainer, over current relay testing kit, symmetrical & unsymmetrical fault in three phase system study trainer, abcd parameter in transmission line trainer, under/ over voltage relay testing kit and feeder protection trainer.

At the two ends resulting in no current flow. This system uses the principle of comparing the phase angle between the currents at the two ends of the protected line. The most important point for the design of a line for protection against the direct stroke is not a. Increase the power flow in line 4. How to protect circuits from reversed voltage polarity! It is a most common system used for the protection of stator winding faults employs circulating current merz price is also called differential protection. This system is similar to voltage balance system except that here balance or opposition is between the voltages induced in the secondary windings wound on the relay magnets and not between the secondary voltages of the line. Merz price differential protection is used to protect the transformer from internal short circuit, internal ground faults and inter turn shorts. For extra high voltage ac transmission lines, conductors used are (a) all aluminium (b) all steel (c) aaac (d) acsr. This is because, zero sequence currents cannot flow in induction motor loads that are most affected. So, for example, if we know van, vbn, and vcn (defined as in the diagram however, since our intent is to perform measurements in the system, we cannot assume it to be ideal. Several differential schemes are applied for protection of line but mess price voltage balance system and translay scheme are most popularly used. Voltage, electric potential difference, electromotive force emf, electric pressure or electric tension is the difference in electric potential between two points, which (in a static electric field) is defined as the work needed per unit of charge to move a test charge between the two points.

The working principle of merz price balance system is quite simple. The np connection, the voltage balance can be handled globally considering the whole system. This is because, zero sequence currents cannot flow in induction motor loads that are most affected. Merz price differential protection is nothing but a percentage differential protection which works under the principle of circulating current. (v) this system cannot be used for line voltages beyond 33 kv because of constructional difficulties in matching the current.

Differential Pilot Wire Protection Pilot Wire Differential Protection Scheme
Differential Pilot Wire Protection Pilot Wire Differential Protection Scheme from www.eeeguide.com
Line trap is an lc network inserted between the busbar and connection of coupling capacitors to the. When the starting current drawn from the line must be held to a minimum value but the maximum starting torque per line ampere is required. Identical current transformers are placed in every section at each end of the road. The np connection, the voltage balance can be handled globally considering the whole system. And is used to protect alternator and also transmission line.for this we have. Increase the power flow in line 4. Because they'd be way too heavy if they were. The most important point for the design of a line for protection against the direct stroke is not a.

Merz price differential protection is nothing but a percentage differential protection which works under the principle of circulating current.

How to protect circuits from reversed voltage polarity! The most important point for the design of a line for protection against the direct stroke is not a. It is a most common system used for the protection of stator winding faults employs circulating current merz price is also called differential protection. Because they'd be way too heavy if they were. Under normal condition, current entering the line at one end is equal to current these type of relays are used in the feeder protection and the scheme is called translay scheme. Voltage, electric potential difference, electromotive force emf, electric pressure or electric tension is the difference in electric potential between two points, which (in a static electric field) is defined as the work needed per unit of charge to move a test charge between the two points. Some figures are presented to show the extended. Increase the power flow in line 4. Therefore, equal and opposite voltages are induced in the secondaries of cts. However, the underlying reasons for voltage differences on the level of battery chemistry and discharge kinetics. And no, regardless the voltage, the capacity of current on high voltage transmission line stay the same. (v) this system cannot be used for line voltages beyond 33 kv because of constructional difficulties in matching the current. Raising your base core/boost clocks and voltages to workaround this idea means you will likely run at higher load temperatures since you are no longer using stock vbios.

At the two ends resulting in no current flow. Because they'd be way too heavy if they were. Because of this, instead of assuming 120 degrees of. Identical current transformers are placed in every section at each end of the road. Voltage, electric potential difference, electromotive force emf, electric pressure or electric tension is the difference in electric potential between two points, which (in a static electric field) is defined as the work needed per unit of charge to move a test charge between the two points.

2
2 from
Several differential schemes are applied for protection of line but mess price voltage balance system and translay scheme are most popularly used. Some figures are presented to show the extended. Differential protection (merz price circulating current) of alternator. Raising your base core/boost clocks and voltages to workaround this idea means you will likely run at higher load temperatures since you are no longer using stock vbios. Microwave channel protection of transmission lines: It is a most common system used for the protection of stator winding faults employs circulating current merz price is also called differential protection. (v) this system cannot be used for line voltages beyond 33 kv because of constructional difficulties in matching the current. Because of this, instead of assuming 120 degrees of.

Because they'd be way too heavy if they were.

The microwave channels are used for all types of protections otherwise based on power line. This is because, zero sequence currents cannot flow in induction motor loads that are most affected. Figure shows the single line diagram of merz price voltage balance system for pilot wire protection of three. The voltage balancing capabilities of the inverter. Therefore, equal and opposite voltages are induced in the secondaries of cts. Line trap is an lc network inserted between the busbar and connection of coupling capacitors to the. Raising your base core/boost clocks and voltages to workaround this idea means you will likely run at higher load temperatures since you are no longer using stock vbios. Microwave channel protection of transmission lines: So, for example, if we know van, vbn, and vcn (defined as in the diagram however, since our intent is to perform measurements in the system, we cannot assume it to be ideal. At the two ends resulting in no current flow. The most important point for the design of a line for protection against the direct stroke is not a. 548 principles of power system advantages (i) under normal conditions. Why are overhead high voltage power lines not insulated?

(v) this system cannot be used for line voltages beyond 33 kv because of constructional difficulties in matching the current merz price voltage balance system. The waveforms that will be used for the analysis of this section are the same as the ones shown in fig.

Comments